长辈版
无障碍
简体
繁体
网站首页
首 页
资讯中心
区长之窗
政府信息公开
政务服务
互动交流
解读回应
魅力黄山区
数据发布
政务新媒体
一网
搜
当前位置:
首页
> 政府信息公开 > 黄山区民政局
>
行政执法信息公示
>
行政执法人员信息
索
引
号:
003145408/202601-00002
信息分类:
行政执法人员信息
主题分类:
民政、扶贫、救灾,公民,其他
发文日期:
2024-02-20
发布机构:
黄山区民政局
发布日期:
2026-01-04
生效日期:
有效
废止日期:
发布文号:
无文号
关
键
词:
内容概述:
有
效
性:
有效
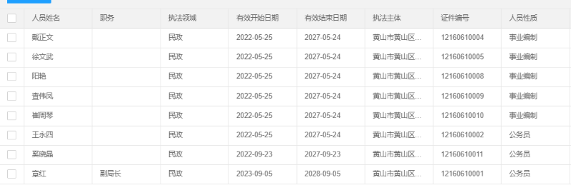
黄山区民政局行政执法人员信息
作者:黄山区民政局
发布时间:2026-01-04 10:29
信息来源:黄山区民政局
阅读次数:
次
字号:
大
中
小
文本下载
我要纠错
打印
收藏
扫一扫在手机打开当前页
智能云搜
政务微信
政务微博
分享